| Image Number | Product | Price ex VAT |
|---|---|---|
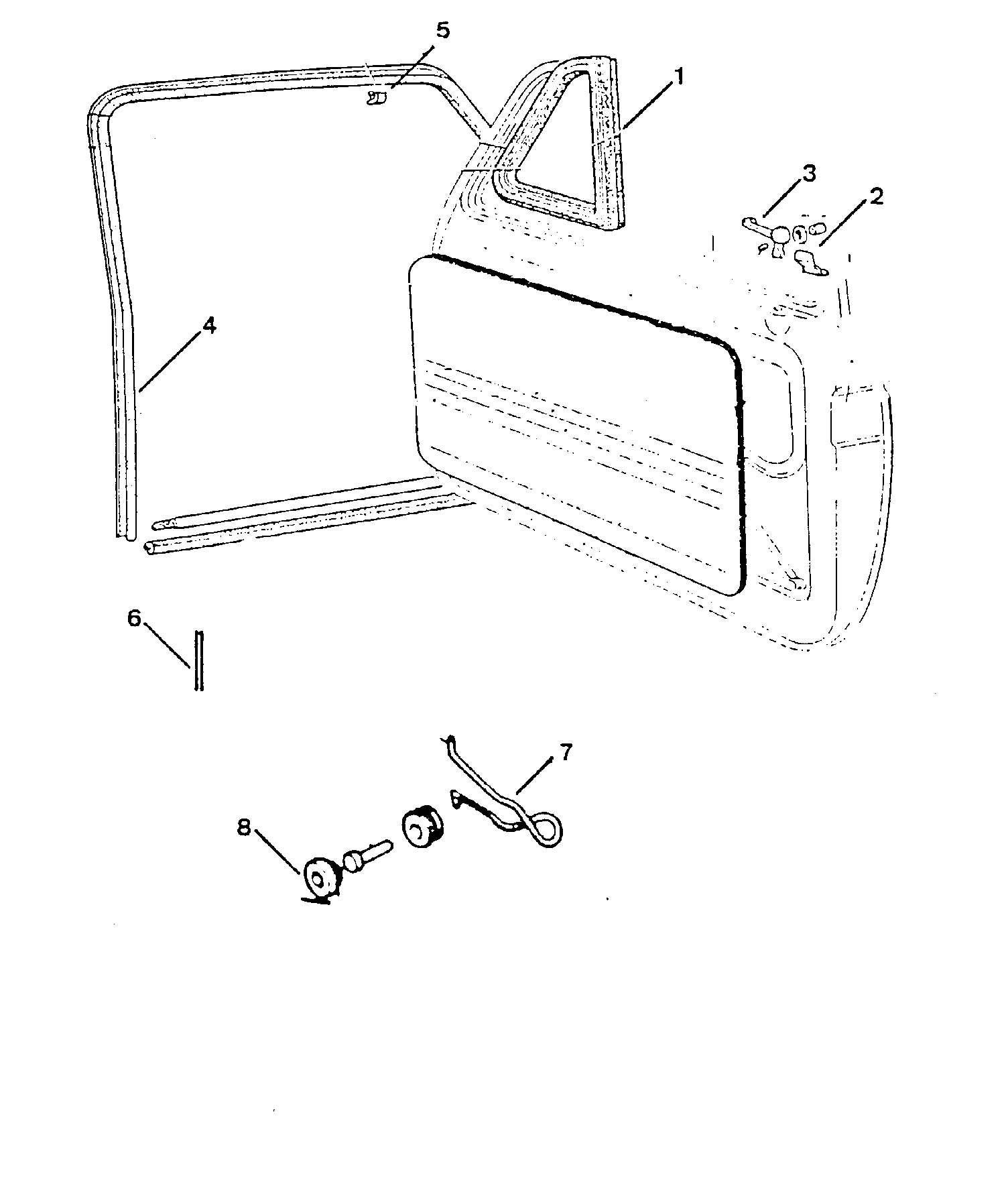
| 2 | QUARTER LIGHT CATCH MOUNT 500 | £6.30 |
| 3 | QUARTER LIGHT CATCH L.H. 500DFLR/600D/E | £9.50 |
| 4 | DOOR SEAL SET 500 GIARDINIERA | £122.40 |
| 5 | DOOR BUFFER (RUBBER) 500/600 | £0.99 |
| 6 | DOOR HINGE PIN 500 F/R | £1.20 |
| 8 | DOOR CHECK STRAP ROLLER 500F/R | £1.50 |
| Not Illustrated | DOOR HINGE PIN PLASTIC BUSH 500 | £0.92 |
| Not Illustrated | Quarterlight seals (pair) - Giardiniera | £35.06 |
| Not Illustrated | SCREW DOOR PULL 500 M6 | £0.50 |
| Not Illustrated | DOOR SEAL 500F/600D/850/124 (PER METRE) | £7.50 |
| Not Illustrated | CHECK STRAP FRONT DOOR 500 N/D | £6.30 |
Available On Request
| Image Number | Part Number | Product | Price ex VAT |
|---|---|---|---|
| 1 | HNG3004235489 | SEE 5935 | £16.00 |
| 3 | HNG3004085811 | QUARTER LIGHT CATCH R.H. 500FLRD/600D/E | £9.50 |
| 4 | HNG1000005797 | SEE 5797/1 | £61.29 |
| 4 | HNG1000005713 | DOOR SEAL 500F/L & 600 D | £10.88 |
| 4 | HNG1000005797/2 | SET DOOR SEALS 500 N/D | £72.00 |
| 6 | HNG3000985032 | DOOR PIN 500N/D 600 | £4.25 |
| Not Illustrated | HNG1000005748 | MIRROR 500R LEFT/RIGHT CHROME | £41.25 |
| Not Illustrated | 3004187446 | Quarter-Light Catch (R/H) | Please Enquire |
| Not Illustrated | 3004371404 | Quarter-Light Seal (R/H) | Please Enquire |
| Not Illustrated | HNG3004022919 | QUARTERLIGHT SEAL SET 500D - L/H | £30.60 |
